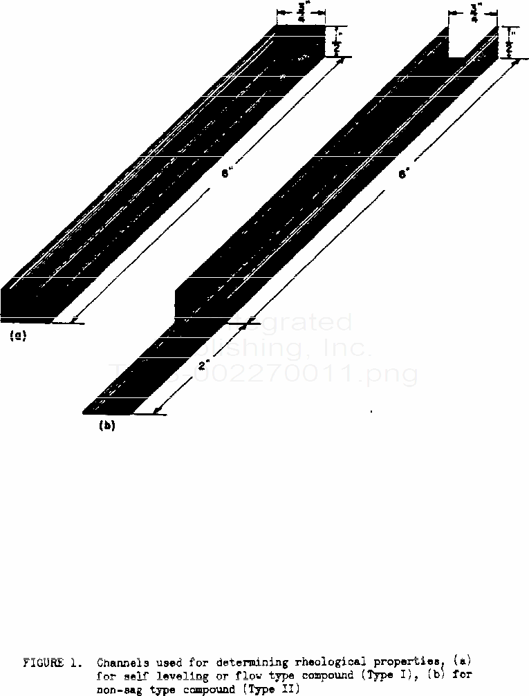
TT-S-00227 Sealing Compound, Elastomeric Type, Multi-Component (For Calking, Sealing, And Glazing In Buildings And Other Structures) (S/S By A-A-1556)This specification covers the properties of a multi-component cold-applied elastomeric type joint sealing compound (joint sealant), including curing agents, for sealing, calking, and glazing operations in buildings, building areas (plates, decks, pavements, etc.) and other types of construction.